凶宅拍卖的底层逻辑:为何141万成交价反而成为市场焦点?
2024年4月,阿里拍卖平台上一套位于宁波象山的房产引发关注。165.46平方米的精装修住宅,附带地下车位,起拍价100万元,最终以141万元成交。这本是一宗普通的法拍房交易,却因为一个特殊标签成为业界讨论样本——该房产曾发生过非正常死亡事件。
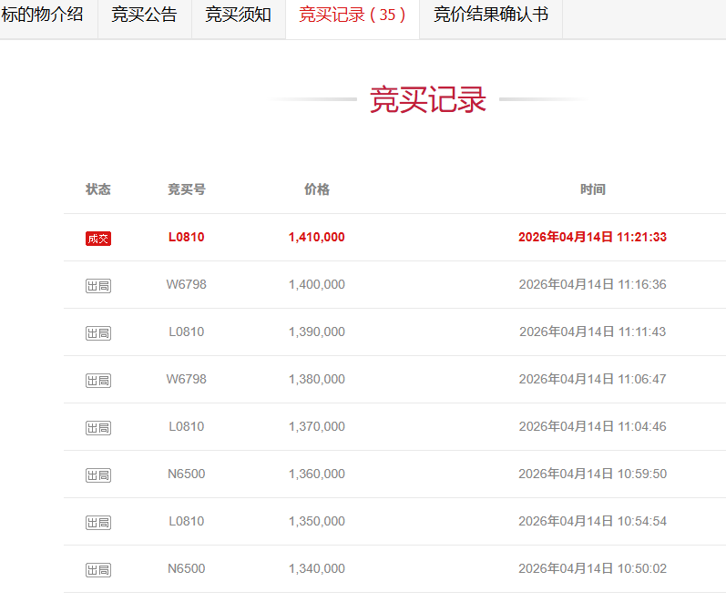
数据还原:竞拍全过程的量化分析
从技术视角审视这场拍卖,时间节点至关重要。报名阶段共吸引4位竞买人,其中一位在拍卖临近结束时才匆忙入场。整个竞拍周期持续超过一小时,经历35轮出价,系统自动延时13次。这些数字背后反映的是市场博弈的典型特征:起拍价100万与评估价141.88万之间存在42万的套利空间,这是竞拍者愿意投入时间成本的原始驱动力。
最终成交单价8522元/平方米,而同小区二手房平台挂牌均价13795元/平方米,价格落差达5273元/平方米。以165.46平方米计算,买家节省约87万元。这一价差直接解释了为何凶宅标签未能阻止市场热情。
地段价值的量化评估框架
判断不动产价值,地段分析是核心方法论。本次拍卖标的位于象山中心大厦,属于丹东街道核心区域。周边配套数据量化如下:距离象山县人民广场步行5分钟,商圈覆盖涌金广场、大润发;教育资源密度高,500米范围内涵盖从幼儿园到中学共5所学校;医疗配套方面,3公里内有两家综合性医院。这些指标构成的地段评分,直接影响法拍房的实际价值判断。
需要特别指出的是,市场对凶宅存在明显的心理折价,但折价幅度与地段稀缺性呈负相关。核心地段的凶宅,其折价空间被地段溢价大幅压缩,甚至在某些竞拍场景中完全被稀释。
法拍房投资的方法论提炼
从这宗案例中提炼可复制的投资框架:第一,建立价格锚点。以评估价为基准,观察成交价与评估价的偏差率。本案偏差率仅为-0.62%,说明即使是凶宅,核心资产仍能回归真实价值。第二,识别时间窗口。法拍房的公告期、竞价规则存在固定的套利机会,竞拍者需要理解规则的时间节点。第三,地段优先原则。凶宅的流动性折价可以通过地段稀缺性对冲,这是本案传递的核心投资逻辑。
对于有意参与法拍房市场的投资者,本案例提供了一个重要参照:在地段价值足够支撑的情况下,凶宅标签不应成为决策障碍,关键在于价格是否覆盖所有风险溢价。
实践应用:法拍房尽调清单
建议建立标准化的尽调清单:核实产权瑕疵类型、评估心理折价幅度、计算地段稀缺性指数、比对同区域二手房成交数据、预判转售周期与流动性。本案的141万成交价,在完成上述尽调后,属于合理价格区间。

